河南省全面启动2024年国家助学贷款免息及本金延期偿还工作(附:操作指南)
为贯彻落实党中央、国务院延续实施国家助学贷款免息及本金延期偿还有关政策,按照财政部、教育部、人民银行、银保监会《关于做好2024年国家助学贷款免息及本金延期偿还工作的通知》(财教〔2024〕2号,以下简称《通知》)要求,我省全面启动2024年国家助学贷款免息及本金延期偿还工作。
一、资助对象
本次免除利息和延期偿还本金的对象为:2024年及以前年度毕业、在2024年内应偿还本金或利息的贷款学生。《通知》印发前已经结清国家助学贷款的毕业生,不在此次政策资助范围内。
二、覆盖范围
免除的利息是贷款学生2024年内个人应支付的国家助学贷款利息,包括以前年度逾期贷款在2024年内产生的罚息。可申请延期偿还的本金是贷款学生2024年内应偿还的国家助学贷款本金。
三、实施方式
1.本次免除利息,贷款学生不需申请,由承办银行直接办理。对于以前年度毕业的贷款学生,在《通知》印发前已偿还2024年利息且在此次政策资助范围内,如承办银行尚未扣款,则相应资金不再扣除;如已扣款,则由承办银行退还贷款学生。
2.对处于还本宽限期的贷款学生,因2024年不需偿还贷款本金,故无需申请延期偿还贷款本金。
3.对处于贷款偿还本金期的贷款学生,如需延期偿还本金,本人可提出申请,并按承办银行要求履行相关手续;如本人未提交申请,则默认按原合同约定偿还贷款本金。
四、注意事项
1.“《通知》印发前”是指2024年1月26日前。
2.“合同已经结清”是指以合同为单位,单笔合同已经结清。
3.贷款学生需于2024年的助学贷款本金偿还日前(至少提前三个工作日)登录学生在线服务系统提交本金延期偿还申请,具体操作方法见“五、国家助学贷款本金延期申请操作指南”。对多笔贷款提出本金延期偿还申请的,借款学生需在不晚于最早偿还日期前(至少提前三个工作日)登录学生在线系统,一并提出申请。线上申请渠道现已开放,无需审批,即日生效。
4. 本金延期偿还申请成功后,开发银行会调整助学贷款还款计划,贷款学生需按照新的还款计划约定还款。
5.成功申请本金延期偿还的贷款学生原2024年(含)及后续年度内应偿还的国家助学贷款本金及利息,仍需按照《借款合同》约定还款。
6.如果因成功申请了本金延期偿还,导致延期偿还日晚于相应《借款合同》约定的贷款期限内最后一年的本金偿还日(即“合同到期日”),则合同到期日自动顺延至延期偿还日,原合同到期日应偿还的本息需于延期偿还日偿还,相应新增利息也需由贷款学生承担,于延期偿还日一并偿还。例如:最后一年合同到期日为2025年9月20日的合同如果申请成功,延期还款日为2025年12月20日,晚于合同到期日2025年9月20日,相应利息需要贷款学生承担。
7.已成功申请本金延期的贷款学生,不得撤销延期申请,但在延期内,可以申请提前还款,(成功申请延期的本金,若申请提前还款,本金将会生成新的还款计划,视为延期申请作废。)
8.2024年10月16日至10月31日暂不支持提前还款申请。
五、国家助学贷款本金延期操作指南
生源地助学贷款本金延期操作
01
1.登陆学生在线系统,点击菜单列“本金延期”,弹框政策提示弹框,提示框下方设置按钮“我已完整阅读并充分理解上述政策和相关释义”(图①),“已申请延期合同”信息为上一年度申请的延期合同;
①本金延期-菜单列-政策提示弹框
2.点击“我已完整阅读并充分理解上述政策和相关释义”按钮,跳转展示未延期申请合同列表,未延期申请合同列表下方按钮“延期申请”(图②);
②本金延期-未延期申请合同
3.点击“延期申请”按钮,弹框本金延期偿还申请单,申请单展示延期合同还款计划变更数据,下方设置“同意”和“不同意”按钮(图③);
③本金延期-申请单
4. 确认无误后点击“同意”按钮,弹框密码验证框,借款学生输入登录密码和图形验证码(图④);
④本金延期-密码校验
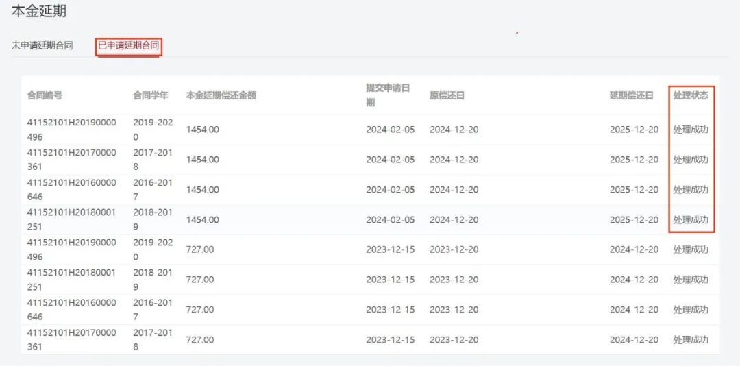
5.点击提交,本金延期申请提交成功,跳转展示已申请延期合同列表(提交成功后,“处理状态”为“申请中”,重新登录系统或刷新网页转变为“处理成功”)(图⑤)。
⑤本金延期-已申请延期合同
高校助学贷款本金延期操作
02
1.登陆高校助学贷款系统,点击菜单列“本金延期”,弹框政策提示弹框,点击提示框下方按钮“我已完整阅读并充分理解上述政策和相关释义”进入下一步(图①);
①本金延期-菜单列-政策提示弹框
2.系统展示可进行延期申请的合同列表,点击“延期申请”按钮进入下一步(图②);
②本金延期-未延期申请合同
3.弹框展示本金延期偿还申请单,申请单展示延期合同还款计划变更数据,点击“同意”按钮进入下一步(图③);
③本金延期-申请单
4. 弹框显示密码验证框,借款学生输入登录密码和图形验证码(图④);
④本金延期-验证登录密码
5.跳转展示已申请延期合同列表(提交成功后,“延期申请状态”为“申请中”,重新登录系统或刷新网页转变为“处理成功”)(图⑤)。
⑤本金延期-已申请延期合同
注意!!!
1.学生提交本金延期申请后,无需审批,当日生效。
2.已申请“本金延期偿还”的学生,不得撤销延期申请,但在延期内可以申请提前还款。
3.如借款学生名下有多笔助学贷款合同,需在不晚于最早到期合同申请截止日前,通过学生在线系统一并申请,超过申请截止时间的贷款合同将无法申请。
来源:河南学生资助

